公斤ES-L稱重模塊產品說明

分類:
訂購熱線:18046321714

描述

?ES-L系列稱重模塊、稱重傳感器

?

?

ES-L系列稱重模塊

第一部分:產品概述、亮點、參數……………………………………………………2

1.1德安特ES-L系列稱重模塊、稱重傳感器產品簡介………………………2

1.2稱重模塊規格參數表………………………………………………………2

1.3秤盤的安裝…………………………………………………………………3

1.4稱重模塊ID設置……………………………………………………………3

第二部分:產品尺寸圖…………………………………………………………………5

第三部分:產品圖片……………………………………………………………………6

第四部分:產品測試響應曲線圖………………………………………………………7

第五部分:硬件連接……………………………………………………………………8

附錄1.設備與計算機的數據通訊………………………………………………8

第六部分:維護和保養…………………………………………………………………9

 

第一部分:產品簡介、亮點、參數

?

1.1德安特ES-L系列稱重模塊、稱重傳感器產品簡介

高速高精度稱重模塊可滿足機械和設備制造商對簡單電氣和機械集成的需求。它們專為工業環境條件下的自動生產過程應用而設計。通過標準化的界面能夠與控制系統輕松的進行通信。公認的堅固的不銹鋼外殼將電子元件等高分辨率整體式稱重傳感器封裝起來。

產品亮點:

  • 用于垂直和水平負載的過載保護
  • 附加的預加載重量達108g
  • 集成的RS485接口
  • 下掛稱重適配器的機械接口
  • 多功能稱重參數配置-可自由調節的

穩定性標準

  • 帶AC/DC適配器的電源線,包括

所在國專用電源線

  • 秤盤尺寸5.5*5.5(mm),帶4*M4螺紋孔

 

1.2稱重模塊規格參數表:

型號ES-L302ES-L502
規格3200g/0.01g5kg/0.01g
重復性±0.01g±0.01g
線性誤差±0.02g±0.02g
響應時間(平均值)1.5秒
穩定時間(平均值)1.5秒
操作溫度范圍20-30℃
操作濕度范圍10%-70%
外形尺寸200*56*90 (mm)
開機預熱10-15分鐘
電源DC 24V
波特率1200、2400、4800、9600、19200
產品凈重1725g
外殼材質304不銹鋼
秤盤材質
底板材質
密封種類橡塑復合密封

 

1.3秤盤的安裝

1.4稱重模塊ID設置:

ID設置表(出廠設置為ID:0)

ID開關狀態
12345
0
1ON
2ON
3ONON
4ON
5ONON
6ONON
7ONONON
8ON
9ONON
10ONON
11ONONON
12ONON
13ONONON
14ONONON
15ONONONON
16ON
17ONON
18ONON
19ONONON
20ONON
21ONONON
22ONONON
23ONONONON
24ONON
25ONONON
26ONONON
27ONONONON
28ONONON
29ONONONON
30ONONONON
31ONONONONON

?

?

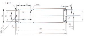
第二部分:產品尺寸圖

?

?

??

第三部分:產品圖片

?

??

第四部分:產品測試響應曲線圖

?

?

?

第五部分:硬件連接

?

編號接口名稱輸入/輸出功能
1DC 24V輸入電源 +24V
2A輸入/輸出RS-485 A
3B輸入/輸出RS-485 B
4GND電源 地
5NC
6NC
7NC
8NC
9NC

?

?

數據格式如下:

1 起始位

8 數據位

1 停止位

無奇偶校驗

附錄1.設備與計算機的數據通訊:(德安特標準協議)

設備和計算機之間可以通過RS232接口來實現數據雙向通訊,一些鍵盤能夠完成的功能可以通過RS232接口來完成。輸入命令如下:

T:表示Tare……………………清零功能

C:表示Cal……………………外部標準砝碼校準功能

P:表示Print……………………打印功能

#:表示立即打印功能

當設備與計算機相連時,建議使用#命令來進行數據輸出,當天平相應此命令后,將把其顯示的所有數字或信息以字符串的形式傳輸給計算機。

字符串的格式如下:

A ???B ???C ???D ???E ???F ???G ???H ???I ???J ???K ???L ???M

A:+/-符號位,通常數值為正值時不顯示,以空格代替,負值時顯示
B~G:數字位,小數點也被傳輸,數字位少于6位時以空格代替。
H~I:空格位
J:單位,表示所傳輸的數據的單位,如果稱重單位為克時顯示g
K:穩定位,其功能與設備的OK功能相同,S表示數據穩定,空格表示數據不穩定
L:回車符
M:換行數,表示設備的換行數

×標準MODBUS協議,或者用戶自定義。

第六部分:維護和保養

1、服務

產品保修一年,如果您有要求,我公司可以為您提供單獨服務合同。

2、修理

修理工作只能由接受過培訓的專業人員來做,若由非專業人員維修,則會給用戶帶來風險。

3、清洗

  • 將設備電源斷開,并拔掉數據連線。

*不得讓液體滲入機器內部。

*禁止使用任何具有腐蝕性的清潔劑(溶劑類)

  • 用柔軟的布擦拭

 

4、清潔不銹鋼表面

所有不銹鋼零件需要經常進行清潔。使用濕布或者海綿對設備的不銹鋼零件進行清潔。您可以使用任何市場上現有的適于清潔不銹鋼制品的清潔劑。先擦拭不銹鋼表面,然后對不銹鋼秤盤進行徹底清潔,確認殘物已清除,再用濕布或海綿將稱重模塊的不銹鋼零件搽試一遍,然后風干,如需要,可適當的在清潔過的表面涂上合適的油作為附加保護。

5、安全檢查

如果一起已不能保證安全工作時:

  • 立即切斷電源,并采取安全措施,保證不再被使用。

 

6、產品的質量保證:

本公司對產品在材料和制造方面的質量提供保證。在質量保證范圍內,如果屬于下列情況,本公司對其產品在材料和制造中出現的問題進行免費維修和更換。

  • 產品沒有被誤使用、存放不當、意外損傷。在使用過程中沒有錯誤安裝、維護,或未按照本公司提供的產品使用說明來使用。
  • 產品未被本公司貨指定的維修人員維修或更換。
  • 產品的序列號完整,無缺損或涂改。
  • 經本公司確認產品的材料和制造問題是在正常的安裝、使用和維護下出現的。
  • 產品運會本公司已事先通知本公司且已預付運費。

 

以下情況不屬于本公司的質量保證范圍:

1.使用不當、濫用或事故造成的損壞。

2.因未經認可的服務導致的損壞。

3.運輸途中的損壞。

4.其他特定用途或目的的實驗或用途的損壞。

5在質保期外正常使用和磨損及修理和更換部件。

 

?